名張校
三重県名張市黒田2704
会員
ログイン
トップページ
クラス紹介
入会案内
イベント
校舎からのお知らせ
2017年6月13日
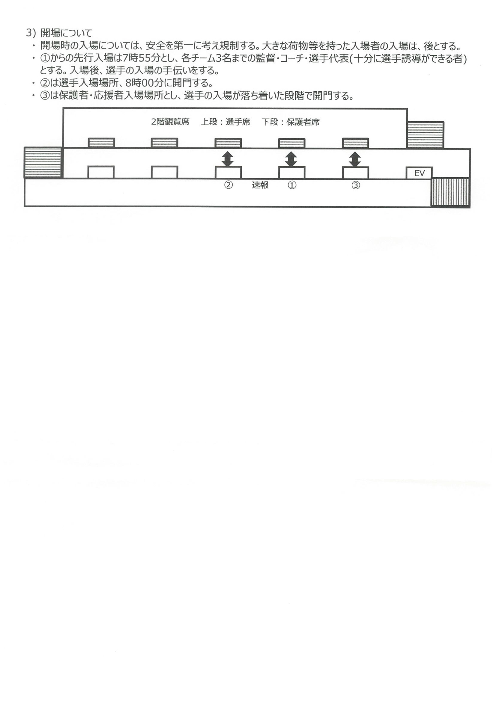
三重県短水路記録会 試合要項
<<前の記事
次の記事>>
入会
のお問い合わせはこちら
その他
のお問い合わせはこちら